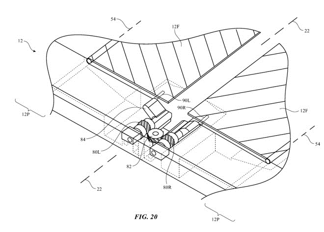
近日据外媒报道称,美国专利商标局发布一项苹果专利显示,名为“具有柔性显示器和铰链的电子设备”,它提出了一种移动设备的设计方案,该移动设备应在可折叠外壳中包括柔性显示屏。其核心思想是允许将柔性显示屏弯曲到足以使设备对折的程度,但这样做的方式应能保护显示器。 苹果公司的解决方案是,它需要以某种方式弯曲显示屏,特别是使中间部分在弯曲之前稍微向外弯曲。这样,可以使远离弯曲区域的显示屏主要部分和边缘尽可能接近地会合,同时允许弯曲部分以较大的半径弯曲,从而使应力最小化。为此,苹果提出了一种铰链机制,该机制可使屏幕由主壳体支撑,并保持平坦,在弯曲时,铰链机构同时使外壳的元件围绕弯曲处所在的部分旋转,让设备看起来整洁。 在内部,铰链可控制显示屏的移动,从而在铰链处弯曲,使用空隙部分为屏幕提供扩大弯曲所需的空间。机架和齿轮装置可用于保持外壳和显示屏与静态区域中每个折叠元件的距离,以及强制实现所需的弯曲半径。展开时,可伸缩的翻盖可以在内部延伸以支撑该位置的显示屏,因此,按一下手指不会影响屏幕的位置,也不会使屏幕疲劳,而不会超出正常使用的范围。 在这之前苹果还在日本申请了全面屏iPhone,对于他们来说,如果行业产能和技术真能支撑,那么这些都是可以实现的。 |
苹果新专利泄露天机:折叠和全面屏iPhone都在准备
[编辑:叶子猪小秘书]
本文仅代表发表厂商及作者观点,不代表叶子猪本身观点!








