-1

腾讯关联公司入股《少女前线》开发商上海散爆网络科技有限公司

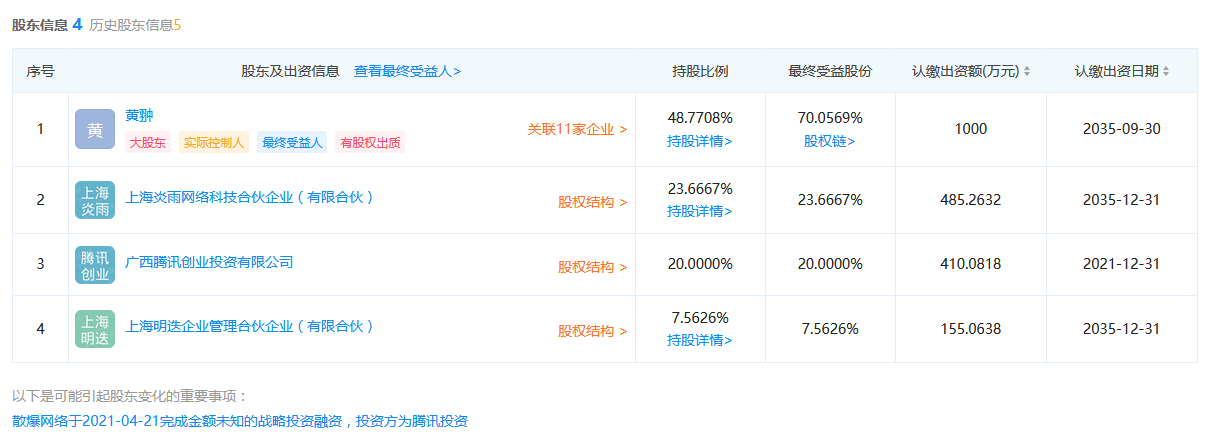
  《少女前线》是一款二次元枪娘养成战术手游,其开发商为上海散爆网络科技有限公司。根据企查查信息显示,腾讯关联公司广西腾讯创业投资有限公司已经入股《少女前线》开发商上海散爆网络科技有限公司持股约20%。

  《少女前线》是由上海散爆网络科技有限公司开发,上海暗冬网络科技有限公司运营的一款后启示录题材的战术策略养成类游戏。目前散爆网络已公布的未来新作包括《逆向坍塌:面包房行动》、《少前:谲境》、《少前:云图计划》、《少前2:追放》。

[编辑:叶子猪小秘书]
本文仅代表发表厂商及作者观点,不代表叶子猪本身观点!

随便看看

http://news.yzz.cn/domestic/202104-1635798.shtml