|
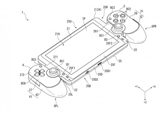
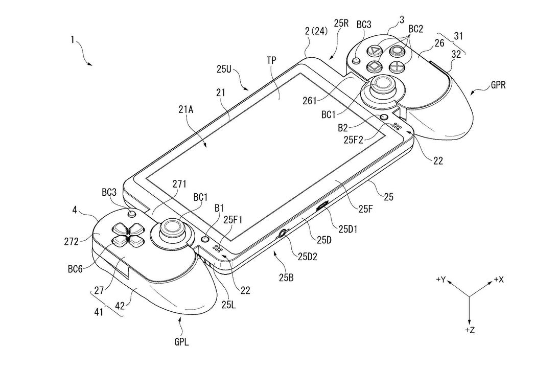
索尼最近刚刚发售了新云掌机PlayStationPortal,这是配合PS5使用的云串流设备,而根据一项专利信息透露,该掌机的开发最早可能始于8年前(2015年),并且最初可能是为PS4开发的。 有玩家挖出了索尼于2015年提交并于两年后发布的一项专利,该专利描绘了一种类似于PlayStation Portal的设备。当时有外媒对此进行了报道,并推测这款掌机是索尼对任天堂Switch的回应,这或许就是PlayStation Portal的早期专利。 在这份专利中,一块屏幕两侧是类似PS4的手柄,可以推测其是为了PS4而设计的,而到了PlayStation Portal,索尼将其改成了PS5手柄。 |
索尼云掌机PS Portal开发最早始于2015年 原本或是为PS4准备
[编辑:月光下完美]
本文仅代表发表厂商及作者观点,不代表叶子猪本身观点!






