不充钱怎么变强?新的匹配机制将计算玩家的消费水平
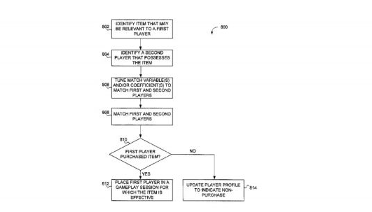
实时竞技,已经成为了国内网游玩家的刚需,从端游PVP玩法开始,包含竞技内容的游戏更容易在市场上站稳脚跟。同样的情况也在手游市场中上演,甚至在一些休闲游戏中也开始出现实时竞技的影子。说到实时竞技,就不得不说一下“匹配机制”这个关键的问题。给玩家匹配旗鼓相当的对手,是关于游戏体验的重中之重。设计科学的匹配机制看似简单,却是一门大学问。现在大多数实时晋级游戏都是基于Elo评分算法进行匹配的,也就是我们平时说的隐藏分。 预期胜率计算公式: 当然这个公式是怎么来的并不重要,我们只要知道隐藏分是通过玩家的平均表现和稳定性来决定玩家的平均水平。随着游戏局数的增多,隐藏分也越能显示出一个玩家的真实水平。 比如《炉石传说》就专门为匹配机制做了一套隐藏的玩家水平判断参数MMR(Matchmaking Ranking),以保证匹配玩家之间水平旗鼓相当。MMR值是随时变动的数值,玩家每赢得一局比赛就会获得一定的MMR分数,打击败对手越强获得分数越高,击败对手越弱则获得分数越少。匹配时系统会优先给玩家匹配匹配到同水平段位的对手,如果系统能够检索到备选对手,则会继续寻找水平相近的玩家,这时就会利用到MMR值进行计算,会尽可能的让对战双方胜率都接近50%。 然而滚石杂志最近挖出了动视在2015年提交的一份专利,并在本月初通过了美国专利商标局的批准。让小编跌破了眼睛的是,该专利涉及到了动视设计的一个游戏匹配系统,它会通过特定的方式将技术水平有差异的玩家匹配到一起,来鼓励技术较差的玩家通过花钱购买游戏物品获得更好的游戏体验。又或者将是否拥有特定DLC内容加入匹配的计算方式中,来鼓励玩家购买这些DLC。 甚至在玩家购买特定物品后,匹配引擎会通过种种方式直接提高玩家的游戏体验。更直接的方法是,生成NPC填补团队中的一些位置,或者将玩家匹配到更有利的地图中。 消息一经爆出,国外玩家的反应都已经炸了,如此的匹配机制会给不购买游戏物品的玩家带来极差的游戏体验。大家纷纷猜测动视旗下哪款游戏用到了这个匹配系统。首当其冲的便是网络游戏《命运2》,对此Bungie社区主管DeeJ表示,在《命运2》中绝对没有使用此功能。 动视官方对此事件也进行了回应:“这是在2015年我们独立于游戏工作室外的研发团队所设计的探索性专利,它还没有应用在任何游戏当中。”但玩家对官方的回应并不买账,部分玩家认为该系统在今后若被使用,将极大的影响匹配机制的公平性。 |























