苹果公布软性荧屏专利 或可透视AR游戏
|
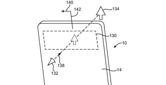
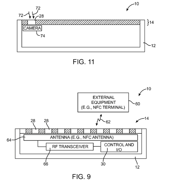
上周,我们刚刚报道了苹果公司收购增强现实技术公司Metaio的消息,而最近,外媒透露,该公司还发布了一项新型软性荧屏技术专利,通过一个非常微小的孔,你可以透视屏幕内部的东西。 ![]() 对于消费者们来说,显示屏往往更像门,而非窗户,也就是说,我们对于新技术的等待时间可能不用特别久。苹果公司目前正在测试这项显示技术,新屏幕的材料可能非常薄,而且非常灵活。 这项技术的吸引力在哪里呢?通过这个显示屏,增强现实应用(游戏)可以让用户在设备上不仅看到屏幕上的图像,还可以看到屏幕背后的真实(游戏)世界,因此这种屏幕不仅可以带来更高的像素,还可以展示屏幕背后的更多信息。 ![]() 该专利还意味着可以通过屏幕上的小孔向外传递各种各样的信号,专利说明书中表示,“这些信号可能包括声波信号、电磁信号(比如无线电波)以及光信号”。 也就是说,你的耳机有可能通过手机屏幕接收声音,话筒也许可以通过屏幕来实现对话,传感器还可以通过屏幕处理光线,摄像头也能够通过屏幕上的小孔接收光线。 ![]() 当然,该项技术可能离量产阶段还非常遥远,不过增强现实技术已经在向我们走来,我们的屏幕也必须为之做好准备。从某些方面来说,这项技术专利是非常有趣的,展示了苹果设计师和工程师们的一些很有创意的想法。 (更多游戏资讯请访问叶子猪游戏资讯中心:http://news.yzz.cn/) [编辑:路过一只酱油]
|
本文由叶子猪游戏资讯中心首发,仅代表发表厂商及作者观点,不代表叶子猪本身观点!







